天眼查显示,深圳市华星光电半导体显示技术有限公司近日取得一项名为“显示面板及显示终端”的专利,授权公告号为CN118215335B,授权公告日为2025年10月17日,申请日为2024年3月5日。

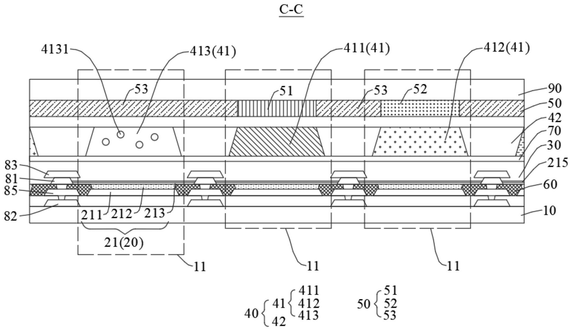
本申请公开了显示面板及显示终端。显示面板包括第一基板、发光层、封装层、量子点层,发光层设置于第一基板的一侧,发光层包括多个有机发光单元,每一有机发光单元被配置为发射蓝光;封装层连续覆盖多个有机发光单元;量子点层包括多个量子点部,量子点部在发光层上的正投影覆盖有机发光单元,多个量子点部包括红光量子点部、绿光量子点部和透明部。本申请通过在第一基板上形成蓝色的有机发光单元,并在有机发光单元上覆盖封装层,从而可以简化有机发光单元的制备工艺。在封装层上设置量子点层,有机发光单元发出的蓝光经红光量子点部转换为红光,蓝光经绿光量子点部转换为绿光,蓝光经透明部仍然为蓝光,从而可以实现彩色显示。