天眼查显示,深圳市华星光电半导体显示技术有限公司近日取得一项名为“显示面板及其制备方法”的专利,授权公告号为CN118488765B,授权公告日为2025年10月17日,申请日为2024年5月21日。

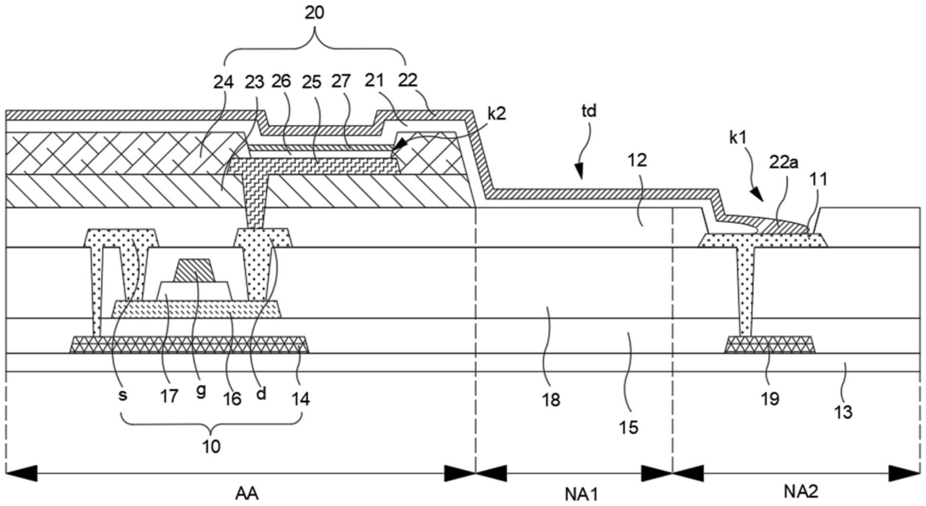
本申请实施例公开了一种显示面板及其制备方法,显示面板在发光器件层上开设穿过位于缓冲区和阴极搭接区交界处的支撑构件的通道,使得阴极的材料可以通过通道进入阴极搭接区并搭接在被第一开口暴露的走线上。电子功能层采用蒸镀工艺,阴极采用较小蒸镀角的蒸镀工艺或溅射工艺且在同一掩模板下分别形成电子功能层和阴极。由于通道的设置,使得阴极和电子功能层的材料可以通过通道延伸至阴极搭接区。又由于阴极采用较小蒸镀角进行蒸镀或采用溅射工艺,使得阴极的成膜范围大于电子功能层的成膜范围,进而阴极可以搭接走线实现发光器件层的发光,从而降低显示面板的制备成本。