天眼查显示,TCL华星光电技术有限公司近日取得一项名为“液晶显示装置”的专利,授权公告号为CN118795700B,授权公告日为2025年10月14日,申请日为2024年9月6日。

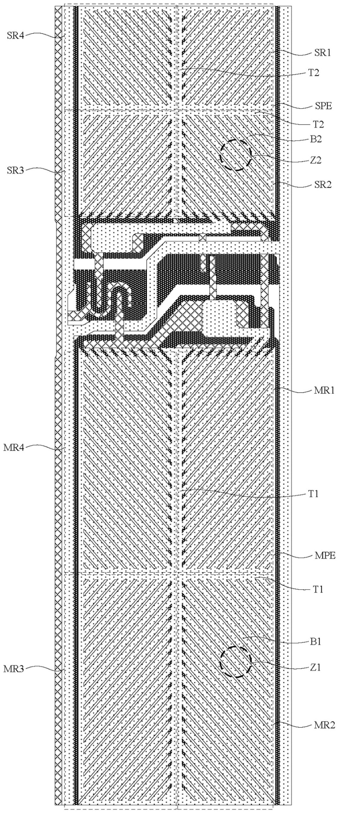
本申请提供一种液晶显示装置,包括多个像素单元,多个像素单元包括红色、绿色和蓝色像素单元,每个像素单元均包括主、次像素电极,主、次像素电极均包括多个分支电极;红色和绿色像素单元的主、次像素电极中的一者的分支电极的宽度小于红色和绿色像素单元的主、次像素电极中的另一者的分支电极的宽度;蓝色像素单元的主像素电、次像素电极中的一者的分支电极的宽度小于红色和绿色像素单元的主、次像素电极中的一者的分支电极的宽度,蓝色像素单元的主、次像素电极中的另一者的分支电极的宽度小于红色和绿色像素单元的主、次像素电极中的另一者的分支电极的宽度。本申请提供的液晶显示装置能够提升整体的视角特性。