京东方“柔性阵列基板和显示装置”专利获授权

来源:爱集微 #京东方#
5754

天眼查显示,京东方科技集团股份有限公司近日取得一项名为“柔性阵列基板和显示装置”的专利,授权公告号为CN113972217B,授权公告日为2025年10月17日,申请日为2020年7月22日。

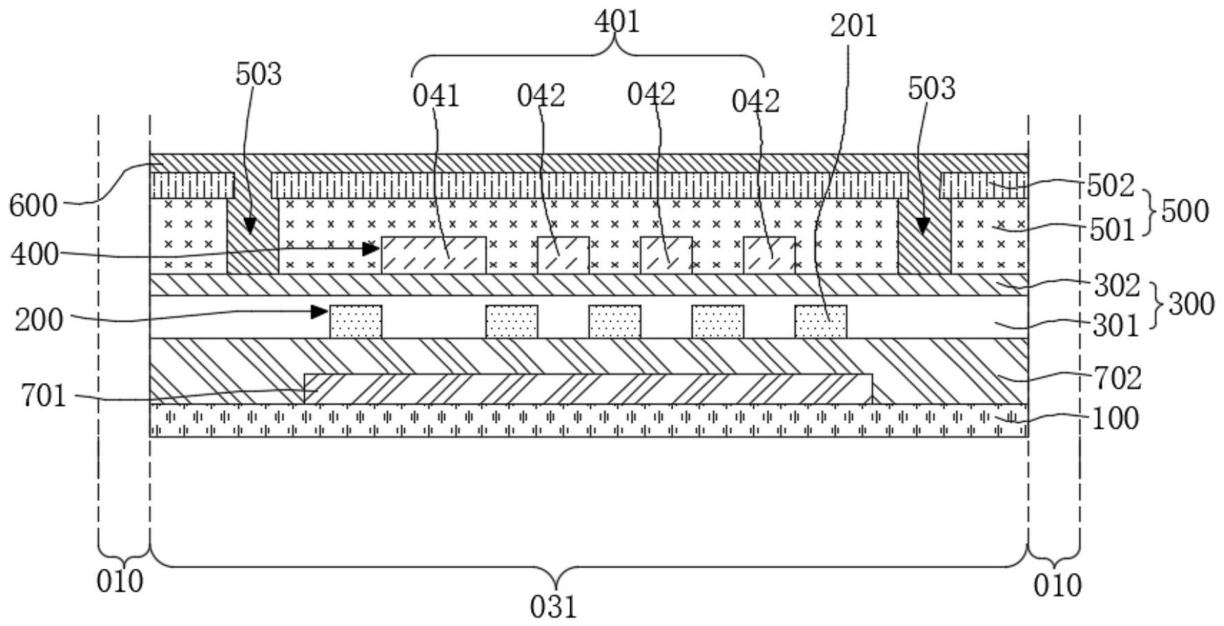
本公开提供了一种柔性阵列基板和显示装置,属于显示技术领域。该柔性阵列基板包括至少一个可拉伸区域;可拉伸区域被多个贯穿孔划分出像素岛区和桥连区,桥连区包括源漏桥连区。柔性阵列基板在任意一个源漏桥连区包括依次层叠设置的衬底基板、多个第一源漏引线、第一绝缘材料层、多个第二源漏引线、第二绝缘材料层和封装层;第二源漏引线的数量少于第一源漏引线的数量;第二绝缘材料层设置有多个隔离槽,隔离槽在第二源漏金属层上的正投影隔离第二源漏引线和贯穿孔。该柔性阵列基板能够提高可拉伸区域的封装效果。


责编: 爱集微
来源:爱集微 #京东方#
THE END

*此内容为集微网原创,著作权归集微网所有,爱集微,爱原创

关闭
加载

PDF 加载中...