天眼查显示,TCL华星光电技术有限公司近日取得一项名为“一种薄膜晶体管及其制作方法”的专利,授权公告号为CN114446792B,授权公告日为2025年10月17日,申请日为2022年1月25日。

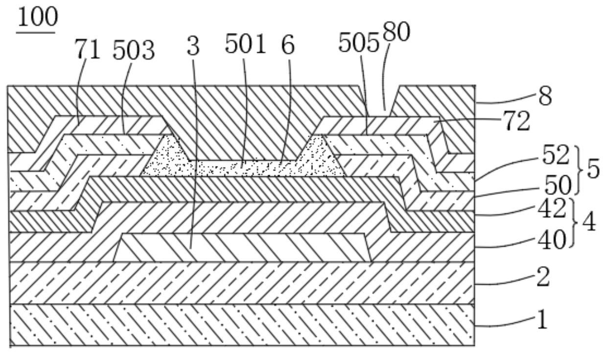
本申请提供一种薄膜晶体管及其制作方法,其包括步骤:提供基板;在所述基板上形成缓冲层;在所述缓冲层表面形成第一金属层并对所述第一金属层进行图案化处理形成栅电极;在所述栅电极上形成栅极绝缘层;在所述栅极绝缘层上形成有源层,所述有源层包括有未掺杂的非晶硅层及位于所述未掺杂的非晶硅层上的非晶硅掺杂层;对所述有源层的部分区域进行脱氢、结晶处理而生成与所述栅电极位置对应的单晶硅层,所述单晶硅层所在区域定义为沟道区,所述沟道区两侧的区域为源极接触区及漏极接触区;在所述源极接触区、漏极接触区形成位于所述源极接触区表面的源极及位于所述漏极接触区表面的漏极。